2022年松江区防汛责任人,各街镇、经开区防汛责任人名单公布
发布时间:2022-05-31 11:17:42 来源于: 上海松江
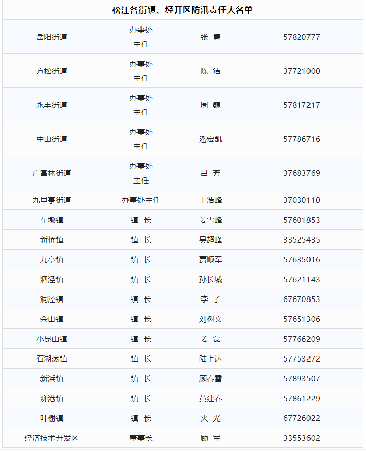
摘要:2022年本市汛期为6月1日至9月30日。为进一步落实各级防汛责任制,根据《中华人民共和国防洪法》和《上海市防汛条例》的规定,现将松江区防汛责任人,各街镇、经开区防汛责任人通告如下:…
2022年本市汛期为6月1日至9月30日。为进一步落实各级防汛责任制,根据《中华人民共和国防洪法》和《上海市防汛条例》的规定,现将松江区防汛责任人,各街镇、经开区防汛责任人通告如下:


(责任编辑:河田)
近期热门资讯:
